ZC-411系列钳形接地电阻测试仪是传统接地电阻测量技术的重大突破,广泛应用于电力、电信、气象、油田、建筑及工业电气设备的接地电阻测量。在测量有回路的接地系统时,不需断开接地引下线,不需辅助电极,安全快速、使用简便。能测量出用传统方法无法测量的接地故障,能应用于传统方法无法测量的场合,因为该仪表测量的是接地体电阻和接地引线电阻的综合值。有长钳口及圆钳口之分。长钳口特别适宜于扁钢接地的场合。另外,ZC-411钳形接地电阻仪还能测量接地系统的泄漏电流和中性线电流。
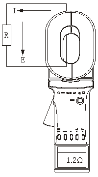
钳形接地电阻测试仪测量接地电阻的基本原理是测量回路电阻。见图1-1。钳表的钳口部分由电压线圈及电流线圈组成。电压线圈提供激励信号,并在被测回路上感应一个电势E。在电势E的作用下将在被测回路产生电流I。钳表对E及I进行测量,并通过下面的公式即可得到被测电阻R。

钳形接地电阻测试仪测量电流的基本原理与电流互感器的测量原理相同。下图1-2。被测量导线的交流电流I,通过钳口的电流磁环及电流线圈产生一个感应电流I1,钳表对I1进行测量,通过下面的公式即可得到被测电流I。

通常输电线路杆塔接地构成多点接地系统,只需用钳表钳住接地引下线,即可测出该支路的接地电阻阻值。
变压器中性点接地有二种情形:如有重复接地则构成多点接地系统;如无重复接地按单点接地测量。
测量时,如钳表显示“L 0.01Ω”,可能同一个杆塔或变压器有两根以上接地引下线并在地下连接。此时应将其它的接地引下线解开,只保留一根接地引下线。