
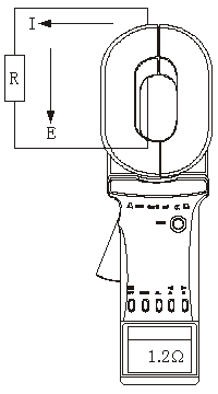
ZC-411钳形接地电阻测试仪测量接地电阻的基本原理是测量回路电阻,见图1-1。钳表的钳口部分由电压线圈及电流线圈组成。电压线圈提供激励信号,并在被测回路上感应一个电势E。在电势E的作用下将在被测回路产生电流I,钳表对E及I进行测量,并通过下面的公式即可得到被测电阻R。
R=E/I

ZC-411钳形接地电阻测试仪测量电流的基本原理与电流互感器的测量原理相同,见图1-2。被测量导线的交流电流I,通过钳口的电流磁环及电流线圈产生一个感应电流I1,钳表对I1进行测量,通过下面的公式即可得到被测电流I。
I=n·I1
其中:n为副边与原边线圈的变比系数。