从测试原理来说,ZC-411钳形接地电阻测试仪只能测量回路电阻,对单点接地是测不出来的。但是,用户完全可以利用一根测试线及接地系统附近的接地极,人为地制造一个回路进行测试。下面介绍二种用ZC-411钳形接地电阻测试仪测量单点接地的方法,此方法可应用于传统的电压-电流法无法测试的场合。
见图1-1,在被测接地体RA附近找一个独立的接地较好的接地体RB(例如临近的自来水管、建筑物等)。将RA和RB用一根测试线连接起来。

由于钳表所测的阻值是两个接地电阻和测试线阻值的串联值。
RT=RA+RB+RL
其中:RT为ZC-411钳形接地电阻测试仪所测的阻值。
RL为测试线的阻值。
将测试线头尾相连即可用ZC-411钳形接地电阻测试仪测出其阻值RL。
所以,如果ZC-411钳形接地电阻测试仪的测量值小于接地电阻的允许值,那么这两个接地体的接地电阻都是合格的。
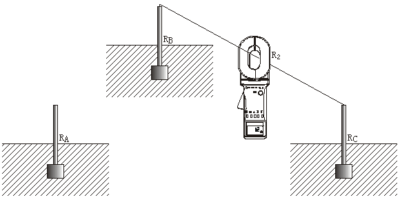
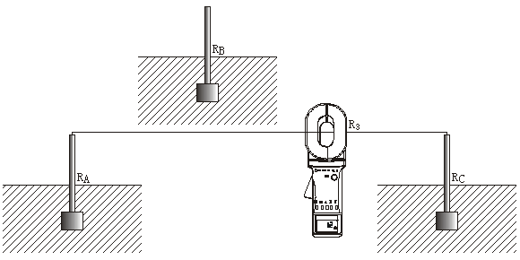
如图1-2,在被测接地体RA附近找二个独立的接地体RB和RC。

第一步,将RA和RB用一根测试线连接起来,见图1-2。用ZC-411钳形接地电阻测试仪读得第一个数据R1。
第二步,将RB和RC连接起来,见图1-3。用ZC-411钳形接地电阻测试仪读得第二个数据R2。

第三步,将RC和RA连接起来,见图1-4。用ZC-411钳形接地电阻测试仪读得第三个数据R3。

上面三步中,每一步所测得的读数都是两个接地电阻的串联值。这样,就可以很容易地计算出每一个接地电阻值:
由于:R1=RA+RB R2=RB+RC R3=RC+RA
所以:RA=(R1+R3-R2)÷2
这就是接地体RA的接地电阻值。为了便于记忆上述公式,可将三个接地体看作一个三角形,则被测电阻等于邻边电阻相加减对边电阻除以2。
其它两个作为参照物的接地体的接地电阻值为:
RB=R1-RA RC=R3-RA