测量40.5kV及以上多油断路器的介质损耗因素tanδ主要用来检查套管、灭弧室、绝缘提升杆、绝缘油和油箱绝缘围屏等的绝缘状况。
对断路器应进行分闸和合闸两种状态下的tanδ试验。分闸状态下应对断路器每支套管的tanδ进行测量。合闸状态下应分别测量三相对地的tanδ。若测量结果超出标准及比上次测量值显著增大时,必须进行分解试验,找出缺陷部位。分解试验的步骤如下:
(1)放油或落下油箱使灭弧室露出油面后进行测量,若此时测得的tanδ1较tanδ明显下降。可认为引起tanδ较大的原因是绝缘油和油箱绝缘围屏的绝缘不良,经取油样试验核定后处理。
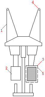
(2)放油或落下油箱后所测得的tanδ1仍超出标准时,可将灭弧装置屏蔽起来或拆掉后复测,复测结果tanδ2较tanδ降低较大时,可判断和灭弧装置受潮,应进行干燥处理。加屏蔽罩消除灭弧装置对整体tanδ的影响的方法如图1-1所示。

(3)如将灭弧装置屏蔽起来,并擦净油箱内套管表面的脏污后,所测tanδ值仍超过标准,则可断定是断路器套管本身有缺陷。
《规程》规定了20℃时非纯瓷套管的tanδ(%)允许值(见《规程》表10-1)。20℃时非纯瓷套管断路器的tanδ(%)值,可比《规程》表10-1中相应套管的tanδ(%)增加值如表1-2所示,表1-3为一试验实例。
| 表1-2 20℃时非纯瓷套管断路器的tanδ(%)值可比相应单独套管的tanδ(%)增加值 | ||||
| 额定电压(kV) | ≥126 | <126 |
DW2一35 DW8一35 |
DW1一35 DW1一35D |
| 比相应的单独套管tanδ(%)的增加数 | 1 | 2 | 2 | 3 |
| 表1-3 DW8-35型断路器tanδ试验实例 | ||||
| 序号 | 试验步骤 | 实测的tanδ(%) | 试验温度(℃) | 判断结果 |
| 1 |
分闸状态下测量套管tanδ1 落下油箱测量套管tanδ 拆掉灭弧室测量tanδ |
8.9 4.2 1.0 |
21 22 22 |
不合格,需要解体试验 油箱绝缘不良,进一步解体试验 灭弧室受潮,套管良好 |
| 2 |
分闸状态下测量套管tanδ 落下油箱测量套管tanδ 拆掉灭弧室测量tanδ |
8.3 6.4 5.5 |
25 25 25 |
不合格,需要解体试验 油箱绝缘良好,进一步解体试验 灭弧室良好,套管不合格 |