当某一绕组中有磁通变化,绕组中就会产生感应电动势,感应电动势为正的一端称为正极性端;感应电动势为负的一端为负极性端。如果磁通的变化方向改变,则感应电动势的方向和端子的极性都随之改变。因此交流电路中,正极性端和负极性端不是固定的,只是对某一时刻,某一参照而言。
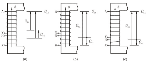
变压器或互感器均存在多个绕组,多个引出端子,为了说明绕在同一铁芯上的两个绕组的感应电动势的相对关系采用了”极性“这一概念。同一铁芯上的变压器绕组有同一磁通流过,两绕组若以同侧线端为起始端,变压器绕组向相同,则感应电动都方向相同;绕向相反,则感应电动势方向相反。所以变压器绕组的绕向和端子标号一经确定,就可以用”加极性“和”减极性“来表示两个绕组之间的感应电动势的关系。在图1-1(a)中,两绕组绕向相同,在同一磁通穿过时,两绕组内的感应电动势在同名端子间任何瞬间都有相同极性,此时一、二次电压ŮAX和Ůax相位相同,如连接X和x,ŮAa等于两电压差,则该变压器的两绕组就为”减极性“关系。如将二次绕组标号交换[见图1-1(b)所示],显然同名端子间的电动势将变成相反方向,电压相位差为180°,这时连接Xx后,ŮAa是ŮAx 与Ůax之和。则变压器此两绕组之间是”加极性“关系。同理,在图1-1(c)中,保持图1-1(a)中的绕组标号。而将ax绕组绕向改变,则变压器两绕组又成了”加极性“关系。

由于变压器绕组间存在着极性关系,当需要几个绕组互相连接时,必须知道极性才能正确的进行连接。
同样,电压互感器、电流互感器也有极性问题。
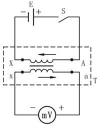
变压器的极性常采用直流法来确定。
如图1-2所示,测量时,用一个电池,将其”+“极接于变压器一次绕组A端,”-“级接于X端;将毫安级电流表或伏安级电压表”+“端接于二次绕组的a端,”-“端接于x端。接好线后,若将开关S合上时,毫安表向正向偏转,而拉开开关S时指针指向负方向偏转,则说明变压器绕组A 、a端同极性。如指针摆动与上述相反,说明变压器绕组A 、a端极性相反,变压器加极性。

试验时,应注意以下问题:
(1)选择合适的电池盒表的计量程。对于变比比较大的变压器,应选用较高电压的电源(如6V)和小量程的毫伏级电压表;对变比小的变压器,应选用较高电压的电源(如1.5V)和较大量程的毫安级电流表。这样做的目的是为了使仪表上的指示比较明显,指针偏转在1/3刻度以上。用专门生产的中间零的微安级电流表、毫安级电流表(俗称极性表)判别变压器的极性效果最佳。
(2)操作时,为保证人身安全和仪表安全,一般应先接好测量回路(接入毫安级电流白表、毫伏级电压表、极性表),然后再接通电源,判别清楚电源接通瞬间仪表的指针方向,注意电路接通瞬间的指示方向与断开的指示方向应相反。