发电机的定子绕组在制造和修理过程中,对定子线棒进行防晕层处理,以减小电晕腐蚀,在下线时在线棒防晕层和铁芯槽之间加填半导体绝缘板,以减小或消除绕组导体表面与铁芯叠片间的空隙,防止放电。当在运行中发现检温元件电位升高、槽楔松动或防晕层损坏时,应对定子槽部线圈防晕层进行测试。
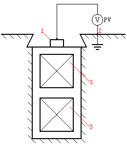
1.对定子绕组施加额定相电压值。
2.用高内阻电压表测量槽内绕组表面对地(铁芯)的电压值,要求不大于10V,如图1-1所示。

3.测量时可将槽沿铁芯长分为若干段。
实例1-27 全换定子绕组一一槽部防晕层对地电位测试
对某电厂一台汽轮发电机(50MW 10.5kV)全换绕组后进行了测量防晕层对地电位试验。该机定子绕组原为老式的云母绝缘,在更换绕组时采用了环氧B级粉云母带绝缘,在防晕措施方面,线棒的槽部采用石棉带并绕,并刷5150环氧半导漆,在端部采用玻璃丝带1/2绕,并刷5145醇酸半导漆。下线后在各线棒和槽壁之间加填0.2~0.5mm的半导体绝缘板,槽楔及线圈对铁芯及线圈间采用半导体垫条。在下线后打槽楔之前进行了表面电位测试,该机铁芯全长3760mm,共108个槽,将铁芯沿轴向分为10点,共测量1080点,定子绕组施加额定电压10.5kV,测试结果如下:
①表面电位<5V的共占70%;
②表面电位<1V的共占25%;
③表面电位5V和10V之间的占5%。
对其中几个接近10V的进行了进一步的加塞半导体绝缘板处理,处理后再测时全部在6V以下。