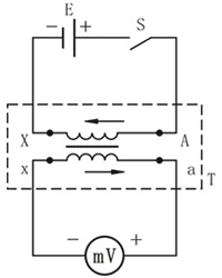
如图1-1所示,测量时,用一个电池,将其”+“极接于电力变压器一次绕组A端,”-“级接于X端;将毫安级电流表或伏安级电压表”+“端接于二次绕组的a端,”-“端接于x端。接好线后,若将开关S合上时,毫安表向正向偏转,而拉开开关S时指针指向负方向偏转,则说明电力变压器绕组A、a端同极性。如指针摆动与上述相反,说明电力变压器绕组A、a端极性相反,电力变压器加极性。

试验时,应注意以下问题:
(1)选择合适的电池盒表的计量程。对于变比比较大的电力变压器,应选用较高电压的电源(如6V)和小量程的毫伏级电压表;对变比小的电力变压器,应选用较高电压的电源(如1.5V)和较大量程的毫安级电流表。这样做的目的是为了使仪表上的指示比较明显,指针偏转在1/3刻度以上。用专门生产的中间零的微安级电流表、毫安级电流表(俗称极性表)判别电力变压器的极性效果最佳。
(2)操作时,为保证人身安全和仪表安全,一般应先接好测量回路(接入毫安级电流白表、毫伏级电压表、极性表),然后再接通电源,判别清楚电源接通瞬间仪表的指针方向,注意电路接通瞬间的指示方向与断开的指示方向应相反。
ZC-203B全自动变比测试仪是武汉致卓测控于2009年最新推出第二代专业变比测试设备,可用于电力系统的三相变压器测试,特别适合于Z型绕组变压器、整流变压器和平衡变压器测试。仪器采用了大屏幕液晶显示,全中文菜单及汉字打印输出,人机界面友好,功能完善,操作方便,是电力系统、变压器生产厂家和铁路电气系统进行变压器变比、组别、极性、以及角度测试的理想仪器。
2.1 ZC-203B全自动变比测试仪产品特性:
(1)仪器内部集成幅值稳定、相位恒定的三相或单相标准电源。
(2)测试单相或者三相变压器,不但对一般电力变压器适用,而且特别适合于Z型绕组变压器、整流变压器和铁路电气系统的斯科特、逆斯科特、平衡变压器测试。
(3)内部标准电源输出功率大,最大5A输出,特别适合低压变压器测试、以及CT和PT制造过程中半成品的匝数测试。
(4)精确快速测试电流互感器(CT)和电压互感器(PT)的匝比,匝比误差和相位差。
(5)测试精度高,仪器采用16位高精度AD转换器配合CPU采用DSP(数字信号处理)芯片,有效的保证了测量精度及抗干扰能力。
(6)仪器采用无局放调压输出,调压、测量速度快,只需5秒钟即可完成升压与测试。
(7)测量速度快,一组数据的测试时间为几秒钟,仪器自动判断当前分接的额定变比:在多分接变压测试过程中只需设置一次参数,仪器自动判断当前分接,大大提高工作效率。
(8)仪器内部根据被测试试品自动进行量程切换。
(9)内部具有过流保护、检查接线功能。
(10)320×240大屏幕、高亮度的液晶显示,全汉字菜单及操作提示实现友好的人机对话,触摸按键使操作更简便。
(11)自带实时电子钟,自动记录试验的日期、时间利于实验结果的保存、管理。
(12)面板式热敏打印机,可现场快速打印试验结果。
(13)数据具备掉电存贮及浏览功能,可以存储1000组实验结果,能与计算机联机传送数据。
| 规格型号 | ZC-203B | |
| 测试用途 | 变压器变比、组别、极性、以及角度测量 | |
| 工作电源 | 输入电压 | 185Vac~250Vac |
| 允许输入电压 | 85Vac~264Vac | |
| 频 率 | 50/60Hz | |
| 允许频率 | 45Hz~65Hz | |
| 输入功率 | 40VA | |
| 接 头 | 标准交流插口60320 | |
| 输出范围 | 20V档位 | 电压0~20V;电流0~10A |
| 50V档位 | 电压0~50V;电流0~5A | |
| 测量范围 | 变比测试范围 | 0.5~10000 |
| 组别测试范围 | 1~12 | |
| 角差测试范围 | 0°~360° | |
| 测试精度 | 变比测试精度 |
±0.1%(0.5~1000) ±0.2%(1001~2000) ±0.3%(2001~4000) ±0.5%(4001~10000) |
| 角差测试精度 | 30' | |
| 环境条件 | 运行温度 | -10℃~+50℃ |
| 存储温度 | -25℃~+70℃ | |
| 湿 度 | 相对湿度:5%~95%,不结露 | |
| 物理特性 | 尺 寸 | 360×220×150mm3 |
| 重 量 | ≈5kg(不包括附件) | |