可以采用将一次绕组短路加压,各二次绕组均短路,接西林电桥Cx点的正接法来测量tanδ及电容值;也可以采用对电桥的E点加压,将一次绕组短路,接QS1电桥的Cx点,其各二次绕组均短路直接接地的反接法。
电磁式电压互感器在交接试验时,35kV油浸式的tanδ(%)可参照DL/T 596规定判断。35kV以上的,在试验电压为10kV时,按制造厂试验方法测得的tanδ值不应大于出厂试验值的130%。
运行中电磁式电压互感器的tanδ(%)值按DL/T 596规定判断。
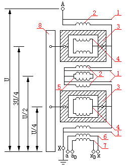
图1-1为220kV串级式电压互感器的绕组及结构布置图。一次绕组分成4段,绕在两个铁芯上;两个铁芯被支撑在绝缘支架上,铁芯对地分别处于3/4和1/4的工作电压,一次绕组最末一个静电屏(共有4个静电屏)与末端“X”相连接,“X”点运行中直接接地。末电屏外是二次绕组ax和剩余二次绕组aDxD“X”与ax绕组运行中的电位差仅100/√3V,它们之间的电容量约占整体电容量的80%。110kV级的绕组及结构布置与220kV级类似,一次绕组共分2段,只有一个铁芯,铁芯对地电压为1/2的工作电压。

测量串级式电压互感器tanδ和电容的主要方法有:末端加压法、末端屏蔽法、常规试验法和自激法。末端加压法采用较广,它的优点是电压互感器A点接地,抗电场干扰能力较强,不足之处是存在二次端子板的影响,且不能测绝缘支架的tanδ值;末端屏蔽法“X”接屏蔽能排除端子板的影响,能测出绝缘支架的tanδ值。电压互感器的预防性试验规定,必须增加对绝缘支架的介质损失值的测试项目,因此DL/T 596建议采用末端屏蔽法试验。自激法抗干扰力差,一般较少采用。
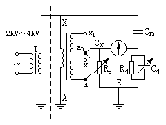
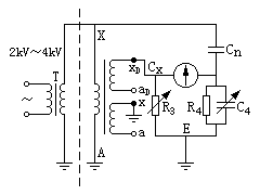
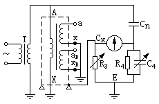
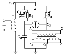
a) 试验接线和方法如图1-2~图1-6和表1-1所示。






| 序号 | 试验方法 | 图号 | 西林电桥接线方式 | 被试品接线方式 | 被测绝缘部位 |
测得 结果 |
||||||||
|
接线 方法 |
Cx端 的连接 |
“E”端 的连接 |
加压端和 试验电压 |
接地端 | 悬浮端 | 底座 | 绕组间 | 支架 |
二次 端子 |
剩余二 次端子 |
||||
| 1 |
末端加 电压法 |
图1-2 | 正接线 | x,xD | 地 | X加2kV~3kV | A | aD,a | 接地 | √ | √ | √ | ||
| 2 | 图1-3 | 正接线 | xD | 地 | A,x | aD,a | 接地 | √ | √ | |||||
| 3 |
末端 屏蔽法 |
图1-4 | 正接线 | x,xD | 地 |
A加10kV或 至绕组额定电 压(限于Cn) |
X | aD,a | 接地 | √ | Ca,tanδa | |||
| 4 | 图1-5 | 正接线 | x,xD,底座 | 地 | X | aD,a | 绝缘 | √ | √ | Cb,tanδb | ||||
| 5 | 图1-6 | 正接线 | 底座 | 地 | X,x,xD | aD,a | 绝缘 | √ | Cc,tanδc | |||||
| 6 | 常规法 | 正接线 | ax,aDxD | 地 | AX加10kV | 绝缘 | √ | √ | √ | √ | ||||
| 7 | 正接线 | ax,aDxD | 地 | AX加10kV | 接地 | √ | √ | √ | ||||||
| 8 | 正接线 | ax | aDxD,地 | AX加10kV | 接地 | √ | √ | |||||||
| 9 | 正接线 | aDxD | ax,地 | AX加10kV | 接地 | √ | √ | |||||||
| 10 | 正接线 | 底座 | ax,aDxD,地 | AX加10kV | ax,aDxD | 绝缘 | √ | |||||||
| 11 | 图1-7 | 反接线 | AX | 加压 | 经E加2kV~3kV | ax,aDxD | 接地 | √ | √ | √ | √ | |||
b) 绝缘支架tanδ和电容的测量。由于支架的电容量很小(一般为10pF~25pF),因此按图1-6直接法测量的灵敏度很低,在强电场干扰下往往不易测准,建议使用间接法,按图1-4和图1-5两次测量后,用式(1)计算出绝缘支架的电容Cc和介质损耗因数tanδc,即:
Cc=Cb﹣Ca
tanδc=(Cbtanδb﹣Catanδa)/(Cb﹣Ca) (1)
式中:
Ca及tanδa——按图1-4接线测量的一次对二次绕组的电容及介损值;
Cb及tanδb——按图1-5接线测量的一次对支架与二次绕组并联的电容及介损值。
按图1-6测量时,为便于电桥平衡,需要在R4上再并接适当电阻,通常,取外并电阻后R1=R4/n(n=1、2、3、…、9)。此时,被试的tanδ值等于C4的微法值除以n,即tanδ=C4/n。
串级式(分级绝缘)电压互感器20℃时的tanδ值应不大于表1-2中数值。
| 电压等级 | 试验方法 |
交接及大修后 % |
运行中 % |
|
| 66kV~220kV | 常规试验法 | 2.0 | 2.5 | |
| 末端加压法 | 按图1-2接线 | 2.5 | 3.5 | |
| 按图1-3接线 | 3.5 | 5.0 | ||
| 末端屏蔽法 | 本体,按图1-4接线 | 3.5 | 5.0 | |
| 绝缘支架,按图1-4、图1-5或图1-6接线 | 6.0 | 6.0 | ||
| 自激法 | 2.5 | 3.5 | ||